Qingdao Xinguangzheng Steel Structure Co., Ltd
NOTICIAS
Casa / Noticias / NOTICIAS / Diferentes piezas integradas en la construcción de acero

Diferentes piezas integradas en la construcción de acero

Vistas:0     Autor:Editor del sitio     Hora de publicación: 2024-03-16      Origen:Sitio

Preguntar

facebook sharing button
twitter sharing button
line sharing button
wechat sharing button
linkedin sharing button
pinterest sharing button
whatsapp sharing button
sharethis sharing button

En el diseño y la construcción de piezas integradas, a menudo se aplican los siguientes tipos: barra de anclaje incrustado, perno de anclaje incrustado y perno químico. Entonces, ¿cuáles son sus diferencias?

Las barras de anclaje incrustadas deberán ser el refuerzo HRB400 o HPB300. Las barras de anclaje rectas y la placa de anclaje deben soldarse en forma de T. Se debe usar la soldadura de arco sumergida a presión cuando el diámetro de la barra de anclaje no es de más de 20 mm, y se debe usar soldadura de enchufe perforada cuando el diámetro de la barra de anclaje sea mayor de 20 mm.

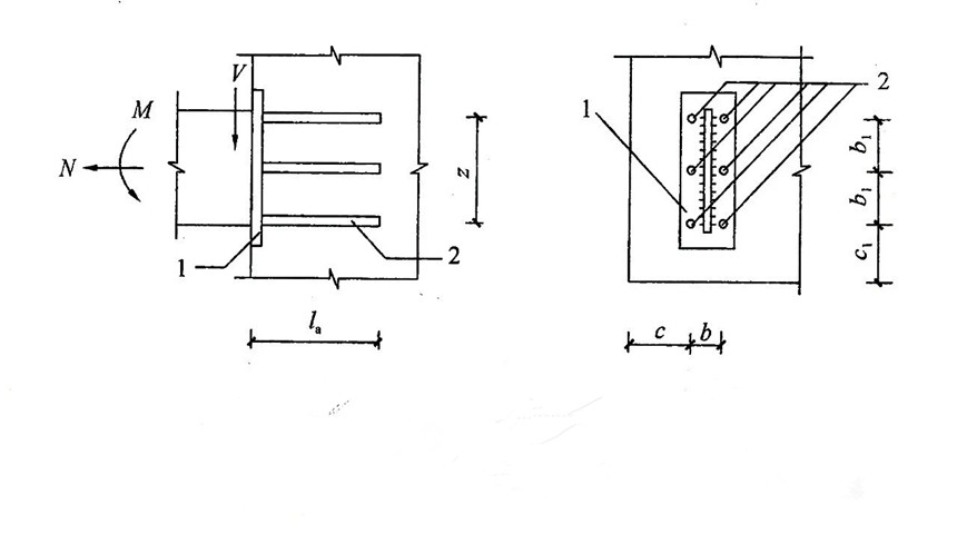
1. Barra de anclaje

El diámetro de la recta estresada barras de anclaje de las partes incrustadas no deben ser inferiores a 8 mm, y no deben ser superiores a 25 mm. El número de barras de anclaje rectas no debe ser inferior a 4, y no debe ser más de 4 filas. Se determina la longitud de anclaje de la barra de anclaje recta, la longitud de anclaje de la cizalla y la barra de anclaje recta comprimida no debe ser inferior a 15d, d es el diámetro de la barra de anclaje.

Cuando la barra de anclaje usa refuerzo de grado HPB300, el extremo también debe tener un gancho curvo.


2. barra incrustada

Q235B se utilizará o se debe utilizar el Q355b, y el diámetro no debe ser inferior a 20 mm. El perno de anclaje debe configurarse con gancho curvado, o placa de anclaje, o haz de anclaje, y su longitud de anclaje no debe ser inferior a 25D.

4. Bolt de base

El perno de anclaje No debe usarse para resistir la fuerza de reacción horizontal en la parte inferior de la columna. Esta fuerza de reacción horizontal se transmite primero a la base de concreto a través de la fuerza de fricción entre la placa del pie de la columna y la superficie de concreto; Cuando la fuerza horizontal en la parte inferior de la columna es mayor que la fuerza de fricción, los enlaces de corte deben establecerse en resistencia al corte.

Después de la instalación y la corrección, la placa de cojín de anclaje (el grosor debe ser 0.5 ~ 0.7 veces del grosor de la placa inferior) y la placa inferior debe soldarse firmemente. Los pernos deben estar sujetos con tuercas dobles, y las tuercas y las almohadillas de los pernos deben soldarse.

El grado de perno químico es generalmente 4.8 (estándar de mercado), 5.8 (estándar nacional), 8.8 (alta resistencia), compuesta de tornillo, tuerca, junta y tubería química.

La tubería química del perno de anclaje químico está compuesto de resina de vinilo, partículas de arena de cuarzo y agente de curado. A través del enlace de mortero de resina sintético, el tornillo forma la adhesión entre el tornillo y la pared del orificio, y forma el todo con el objeto anclado, a fin de lograr el papel de fijar el miembro y mejorar la capacidad de rodamiento del componente.


7. Bolt químico


Barra de anclaje incrustado

Perno de anclaje

Perno químico

Grado de acero

HRB400

Q355B

5.8s

Diámetro (mm)

24

24

24

Área (mm2)

452.2

452.2

452.2

Sección de área efectiva (mm2)

452.2

352.5

352.5

Tsil tensión final (n/mm2)

540

470

500

TRIVER DEL SERVICIO DE ENSILE (N/mm2)

400

355

400

Valor de diseño de resistencia a t ENSILE (N/mm2)

300

180

240

Valor de diseño de capacidad de carga antimil (KN)

81.4

63.5

84.6



No. 268, Sancheng Road, Pingdu, Qingdao, Shandong, China

Mobile / Wechat / Whatsapp:

+86-158-5320-9069 / +86-178-0625-1013
Sobre nosotros
"Pasión, practicidad, gratitud y trascendencia" es nuestro espíritu corporativo.

Público

Personal

Enlaces de la empresa
Categorías de Producto
Nuestro proyecto
Copyrights © 2021 Qingdao Xinguangzheng Steel Structure Co., Ltd. All Rights Reserved  Technology by leadong